dnf贵族机要是110级版本加入的高级地下城,无法组队,只能用账号内1-4个角色组成小队通关,理论上,只要有1个角色打得过,那其他3个角色只要凑满入场名望值即可。

一、入场要求
1.普通门票消耗32play points(疲劳条下面的绿条),每个角色每周可以买一次30play points药(商店第一个)

2.入场方式为小队模式(1~4个角色都可以)

3.消耗60疲劳,普通级名望最低要求17280
二、副本攻略
贵族机要是小队专属副本,无法与其他玩家组队
组队完毕后,到次日0600前无法更换队员,队伍组成后,仅消耗当前控制的角色的疲劳值与材料,没有入场次数限制,仅看有多少门票可用,理论上每个角色每日可入场3次,4队基准12次。
理论上,只要有1个角色打得过,那其他3个角色只要凑满入场名望值即可。
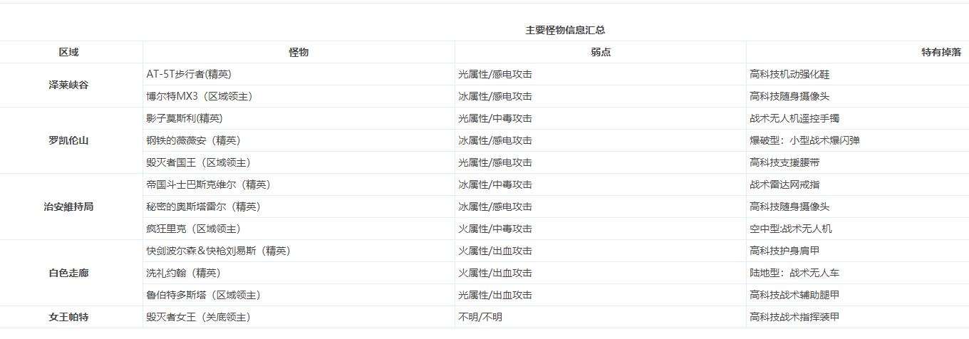
贵族代号一共有5个区域,每个区域有各自固定出现的怪物。

区域1 – 泽莱峡谷
主要出现怪物:AT-5T步行者(精英)、博尔特MX3(领主)
地区任务
1. 警戒哨所(避开监视)
ㄴ警备森严的诺斯匹斯军哨所。
需要最大限度避免战斗。
2.货物集散中心(避开监视)
横穿诺斯匹斯的货物列车集散地。
常驻着警戒兵力。
3. 警戒用无人机Z-310(找箱子)
破坏隐藏装置,解除警报。

2区 – 罗凯伦山
登場怪物:钢铁的薇薇安(精英)、影子莫斯利(精英)、毁灭者国王(区域领主)
主要任务
1. 罗凯伦山内的先头阵地(向前突破)
在罗凯伦山中心地区的阵地,安装了自动迎击系统,能自动识别一定范围内的敌人。
2. 罗凯伦山检查站(避开监视)
以维持治安为名目设置的简易检查站,避开警戒兵的视野前进。

3区 - 治安維持局
主要怪物:帝国斗士巴斯克维尔(精英)、秘密的奥斯塔雷尔(精英)、疯狂里克(区域领主)
地区任务
1. 治安維持局补给线(避开监视)
2. 治安維持局货物集散地(避开电车)
3. 机密研究室(寻找箱子)
ㄴ疯狂里克麾下研究院进行秘密研究的地方,有着自动警戒系统。

4区– 白色走廊
登场怪物:快剑波尔森&快枪刘易斯(精英)、洗礼约翰(精英)鲁伯特多斯塔(区域领主)
主要任务
1.雪山秘密基地入口(摧毁无人机)
2. 狙击手的藏身处

5区– 女王帕特
登场怪物:毁灭者女王(关底领主)
只有未知物件与领主。


